Function of the card:
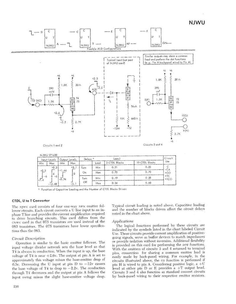
CTDL U to T Converter
Complemented Transistor Diode Logic (CTDL) is IBM's term for a form of diode-transistor logic.
Part number:371630
Symbol:C
C: Converter. Used to translate from one voltage level to another, or to change the amplitude of the voltage swing about the same reference level.
References:
IBM Standard Modular System, Component Circuits, p230.
This page created by Ken Shirriff, 2015.
The information on these pages comes from a variety of sources, especially old IBM documents on bitsavers.org, as well as information from the IBM 1401 restoration team, especially Tim Coslet's SMS data and Jim Hunt's data. Images courtesy of Randall Neff. Much of this information was obtained through OCR, so don't expect complete accuracy. These pages are not associated with IBM in any way.
Creation time: Tue Mar 03 23:40:34 2015.
