Function of the card:
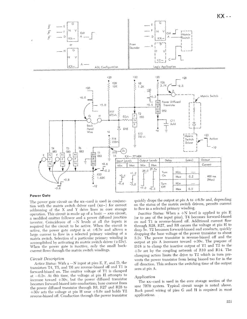
Power Gate
Part number:371484
Symbol:G
G: Gate. Provides a switching pulse of voltage or current, positive or negative, that conditions some other circuit so that it may become either activated or deactivated by one or more other pulses.
References:
IBM Standard Modular System, Component Circuits, p221.
This page created by Ken Shirriff, 2015.
The information on these pages comes from a variety of sources, especially old IBM documents on bitsavers.org, as well as information from the IBM 1401 restoration team, especially Tim Coslet's SMS data and Jim Hunt's data. Images courtesy of Randall Neff. Much of this information was obtained through OCR, so don't expect complete accuracy. These pages are not associated with IBM in any way.
Creation time: Tue Mar 03 23:40:34 2015.
